Il casco del futuro si stringe da solo e si ricarica con il vento
Autoliv brevetta un casco da moto innovativo che si stringe da solo e si ricarica con il vento, rivoluzionando la sicurezza e l'uso del cinturino.

Dalla Svezia arriva un’idea che potrebbe cambiare per sempre il modo in cui concepiamo la sicurezza passiva in moto. Autoliv, colosso scandinavo leader mondiale nei sistemi di sicurezza automobilistici (celebre per lo sviluppo di airbag e cinture di sicurezza), ha recentemente depositato un brevetto che punta a rivoluzionare il componente più semplice, ma fondamentale, di ogni casco: il cinturino sottogola.
L'obiettivo è ambizioso: eliminare il rischio che il casco si sfili durante un impatto a causa di un'allacciatura errata o troppo lenta, un problema che purtroppo incide pesantemente sulla gravità delle lesioni in caso di incidente.
Tecnologia automobilistica al servizio delle due ruote
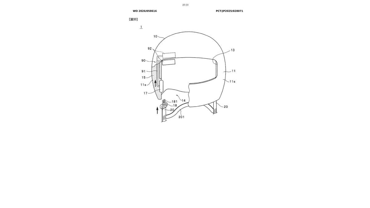
Il cuore pulsante di questa innovazione è un avvolgitore inerziale, un dispositivo che i motociclisti conoscono bene per averlo utilizzato ogni giorno in auto. Questo meccanismo è progettato per tendere gradualmente il cinturino durante la marcia, assicurando che la calzata sia sempre ottimale e aderente. In caso di urto o di un movimento brusco della testa, il sistema si blocca istantaneamente, impedendo al casco di scalzarsi.
A differenza dei sistemi tradizionali a doppia D o micrometrici, che richiedono una regolazione manuale costante, la soluzione di Autoliv automatizza il processo. Inoltre, il brevetto introduce un’architettura a tre punti di ancoraggio, mutuata direttamente dal mondo delle quattro ruote, per distribuire meglio le forze d'impatto sulla struttura ossea del cranio e aumentare la stabilità complessiva.
Sensori, feedback e ricarica "green"
Non si tratta però solo di meccanica. Il sistema integra una serie di sensori di chiusura posizionati nella fibbia. Questi monitorano in tempo reale se il casco è allacciato correttamente e, in caso contrario, avvisano il pilota tramite segnali acustici, vibrazioni o icone visualizzate su eventuali display integrati (HUD).
L'aspetto più avveniristico riguarda l'alimentazione. Per evitare al motociclista l'onere di dover ricaricare l'ennesimo dispositivo elettronico, Autoliv ha previsto l'integrazione di pannelli solari o, ancora più interessante, di microgeneratori eolici. Questi ultimi sfrutterebbero il flusso d'aria generato dal movimento della moto per produrre l'energia necessaria al funzionamento dei sensori e dei motori di tensionamento, rendendo il casco energeticamente autonomo.
L'impatto pratico e le sfide del settore
Per il motociclista italiano, che oggi deve confrontarsi con le rigorose normative della omologazione ECE 22.06, un sistema del genere rappresenterebbe un salto tecnologico enorme. Se da un lato la sicurezza attiva e passiva ne trarrebbe un beneficio indiscutibile, dall'altro restano aperti alcuni interrogativi tipici degli "addetti ai lavori".
L'introduzione di motori, sensori e batterie (seppur piccole) solleva dubbi sul peso complessivo del casco. Sappiamo quanto la leggerezza sia fondamentale per il comfort del collo, specialmente nei lunghi viaggi. Inoltre, la complessità elettronica potrebbe influenzare l'ergonomia: un cinturino che "si stringe da solo" deve essere calibrato perfettamente per non risultare fastidioso o claustrofobico per chi preferisce una vestibilità meno compressiva.
Infine, rimane il tema dell'errore umano: sebbene il sistema aiuti a prevenire lo slacciamento, non può sostituire del tutto la corretta manutenzione e l'integrità dei componenti meccanici. Tuttavia, il passo verso un casco "attivo" è segnato e Autoliv sembra intenzionata a portare lo standard di sicurezza delle auto direttamente sulla nostra testa.
Fonte: Motoblog
Fonte originale


